حذاء "آبل" الذكي يُصدر تنبيهات حال تلفه
رام الله - شبكة راية الاعلامية:
تقدمت شركة "آبل" الأمريكية بطلب الحصول على حقوق براءة اختراع تتعلق بمجال "الحوسبة القابلة للارتداء"، تتمثل في دمج أجهزة استشعارية داخل الأحذية الرياضية، من شأنها تنبيه مرتديها بحالة الحذاء وعما إذا تعرض لتلف غير ملحوظ من قبل المرتدي، ومن ثم ضرورة تغييره وشراء آخر جديد، بدلاً من أن يؤثر سلباً على صحة قدميه.
وحسب الوصف الذي نُشر من قبل مكتب براءات الاختراعات والعلامات التجارية الأمريكي، فإن "آبل" تسعى لتطوير حذاء ذكي يعمل بشكل مستقل دون الحاجة إلى اقترانه بهاتف ذكي أو حاسب لوحي يقيس النشاط اليومي للرياضي عبر تطبيقات نقالة.
فمن المقرر تزويده بشاشة "LED" تُظهر حالة كعب الحذاء الرياضي ومدى التلف الذي لحق به المقاس عن طريق المجسات لتصدر إنذاراً تنبيهياً للمرتدي، بضرورة شراء حذاء جديد بدلاً من التالف.
وليس هذا فحسب، بل يمكن للحذاء قياس النشاط اليومي للرياضي، فهو قادر على معرفة وتحديد أية مشكلات صحية أو إصابات تعرضت لها الساق، وبناء على ذلك تُقدم إرشادات ونصائح مفيدة تساعد الشخص على ممارسة تدريبات وتمارين رياضية لتقوية عضلات الساق أو القدم.
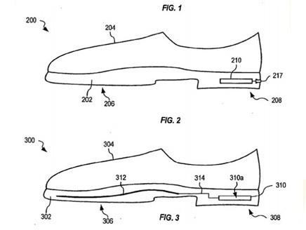
وأوضح رسم تخطيطي مضمن داخل طلب البراءة، الذي تقدمت به آبل في شهر يوليو/ تموز العام المنصرم، كيفية زرع مثل هذه المجسات في كعب الحذاء.
فيما أشارت "آبل" الى إمكانية دمجها في أي مكان بالحذاء للقيام بوظائف مماثلة، وتشمل هذه المجسات أجهزة استشعارية لاسلكية وتسارع ومستشعرات ضغط وأجهزة تنبيه، تعمل عن طريق إظهار المعلومات على شاشة "LED" أو عبر الصوت.
مما لا شك أن مفهوم الحوسبة القابلة للارتداء بات اتجاها جديدا انخرطت فيه كبرى الشركات التقنية، محاولة تجسيده وتطبيقه على أرض الواقع بشكل فعلي، لكن حتى وقتنا هذا ركزت الشركات على الإكسسوارات المتمثلة في شكل نظارات مثل نظارة جوجل الواقعية وساعات أو أساور أو قفازات.
المصدر: وكالات

